SPARE PARTS
eparts figure-detail hero-part

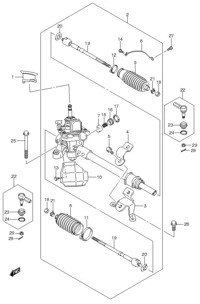
FIG.71 STEERING UNIT

FIG.71 STEERING UNIT
No No. Part Description Qty Price Per Pcs Remarks
1 DISCONTINUE
SUB: 48451-73K00-000
GROMMET, STEERING GEAR 1 -
2 48580-85L01-000
SUB: 48580B57K00N000
BOX SUB ASSY, STRG GEAR 1 Rp19.842.500
3 DISCONTINUE
SUB: 48521-63J00-000
BRACKET, GEAR RACK SIDE NO.1 1 -
4 48522-63J00-000 BRACKET, GEAR RACK SIDE NO.2 1 Rp160.500
5 48523-63J00-000 BOLT, BRACKET 2 Rp75.500
6 DISCONTINUE
SUB: 48531-63J00-000
WIRE, EARTH 1 -
7 48534-63J00-000 PLUNGER, STEERING RACK 1 Rp300.500
8 48571-63J00-000 BOOT, STEERING PINION SIDE 1 Rp252.000
9 48572-63J00-000 BOOT, STEERING RACK SIDE 1 Rp252.000
10 DISCONTINUE
SUB: 48574-63J00-000
HEAT, INSULATOR 1 -
11 48575-63J00-000 BAND, PINION SIDE 1 Rp101.000
12 48576-63J00-000 BAND, RACK SIDE 1 Rp89.500
13 DISCONTINUE
SUB: 48577-51K00-000
BOLT, HEAT SHIELD 2 -
14 DISCONTINUE
SUB: 48577-63J00-000
BOLT 1 -
15 48591-63J00-000 SPRING, RACK PLUNGER 1 Rp85.500
16 48592-63J00-000 PLUG, ADJUSTING 1 Rp151.500
17 48593-63J00-000 NUT, PLUG 1 Rp96.000
18 DISCONTINUE
SUB: 48817-63J00-000
NUT, TIE-ROD END LOCK 2 -
19 48830-63J00-000 TIE ROD, STEERING 2 Rp744.000
20 48841-63J00-000 WASHER, TIE ROD LOCK 2 Rp88.500
21 48871-63J00-000
SUB: 48871B63J00N000
CLAMP, BOOT 2 Rp47.000
22 48810-60J00-000
SUB: 48810B60J00N000
END, STEERING TIE-ROD 2 Rp507.500
23 48800-60810-000
SUB: 48819-60B00-000
BOOT SET 2 Rp207.500
24 09401-23402-000 CLIP 2 Rp22.000
25 48528-79J00-000 BOLT, STRG GEAR BOX NO.1 2 Rp68.500
26 09103-10216-000 BOLT (10X30) 2 Rp31.000
27 DISCONTINUE
SUB: 09115-06006-000
BOLT (6X16) 1 -
28 04111-3020A-000
SUB: 04111B3020AN000
PIN 2 Rp2.500
29 08314-40123-000
SUB: 08314-4012A-000
NUT 2 Rp4.500

*Harga dapat berubah sewaktu-waktu tanpa pemberitahuan terlebih dahulu.

Pricelist Icon Dealer Icon Halo Suzuki Icon Drive Icon