SPARE PARTS
eparts figure-detail hero-part

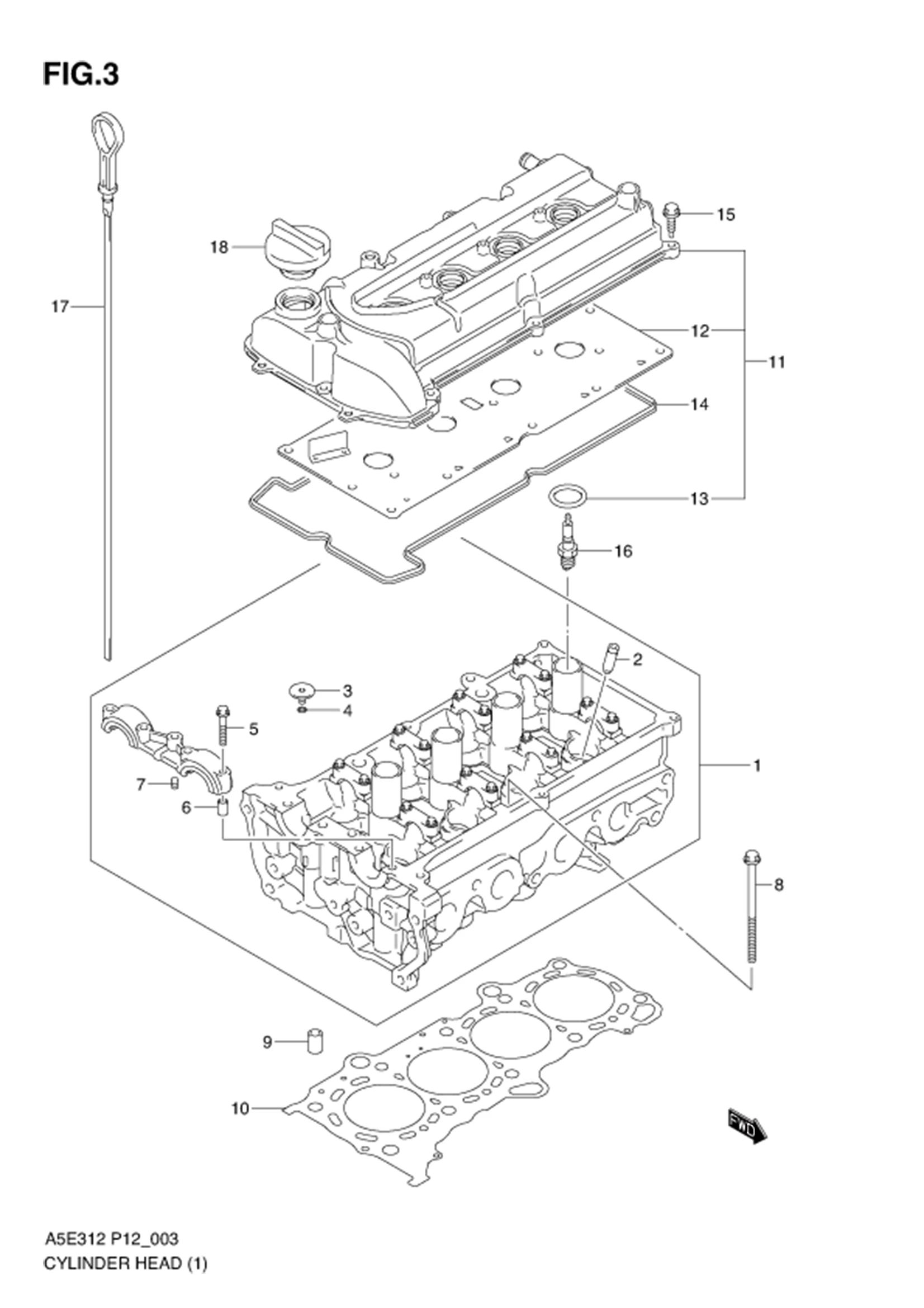
FIG.3 CYLINDER HEAD (TYPE 1)

FIG.3 CYLINDER HEAD (TYPE 1)
No No. Part Description Qty Price Per Pcs Remarks
1 11100M83K01-000 HEAD ASSY,CYLINDER 1 Rp4.249.000
2 11115M68K00-001 •GUIDE,VALVE 16 Rp16.000
3 09248-18011-000 •PLUG 3 Rp38.000
4 11216M68K10-000
SUB: 11216M68K00-000
•GASKET,M18 PLUG 3 Rp8.000
5 11128-69G01-000 •BOLT,CAMSHAFT HOUSING 21 Rp24.000
6 09206-08001-000
SUB: 09206B08001N000
•PIN (6.2X8X11) 18 Rp5.500
7 11112-53A00-000 •PLUG,OIL VENTURI 1 Rp31.500
8 11117-69J00-000 BOLT,CYLINDER HEAD 10 Rp64.500
9 04211M13189-000
SUB: 04211-13189-000
PIN 2 Rp9.000
10 11141M83K01-000 GASKET,CYLINDER HEAD 1 Rp427.000
11 11170M83K00-000 COVER,CYLINDER HEAD 1 Rp1.025.000
12 11172M83K00-000 •PLATE,BREATHER 1 Rp77.500
13 11179M68K00-000 •O RING 4 Rp13.000
14 11189-73K00-000
SUB: 11189M83K00-000
GASKET,CYLINDER HEAD COVER 1 Rp212.500
15 DISCONTINUE
SUB: 01550B0625AN000
BOLT 7 -
16 09482-00L10-000
SUB: 09482B00L10N000
SPARK PLUG (NGK,KR6A-10) 4 Rp41.500
17 16910M68K02-000
SUB: 16910M68K01-000
GAUGE,OIL LEVEL 1 Rp29.000
18 16920M68K00-000 CAP,OIL FILTER 1 Rp50.000

*Harga dapat berubah sewaktu-waktu tanpa pemberitahuan terlebih dahulu.

Pricelist Icon Dealer Icon Halo Suzuki Icon Drive Icon