SPARE PARTS
eparts figure-detail hero-part

GRAND VITARA MC 2025

< KEMBALI KE THUMBNAIL FIG.302A1-L-8 STARTING MOTOR (K15C)FIG.30AA1-L-12EPI CONTROLLER BRACKET (K15C:RHD)FIG.30HA2-B-5 BATTERY PACK FIG.30NB2-B-9 EPI CONTROLLER (K15C:6AT)FIG.310A2-B-13CRANK & CAM SENSOR (K15C)FIG.312A2-C-3 IGNITION COIL (K15C)FIG.315A2-C-6 OIL PRESSURE SWITCH (K15C)FIG.319A2-C-9 ISG ASSY (K15C)FIG.31AA2-C-10AIR BAG CONTROLLERFIG.31EA2-C-11AIR BAG FORWARD SENSORFIG.31GA2-C-12AIR BAG SIDE SENSORFIG.31JA2-C-13BATTERY PACK BRACKET (SEE NOTE)FIG.31KA2-D-2 BRAKE STROKE SENSOR (K15C)FIG.320A2-D-7 BATTERY (K15C)FIG.321B2-D-10BATTERY CABLE (K15C:6AT)FIG.323T2-F-3 SPEEDOMETER (K15C:6AT:RHD:TYPE 4)FIG.330A2-F-6 HEADLAMP (RHD)FIG.332A2-F-8 FOG & DRIVING LAMP (W/FRONT FOG LAMP)FIG.335A2-F-9 HIGH MOUNT STOP LAMPFIG.33AA2-F-10ILLUMINATION LAMP (SEE NOTE)FIG.33CA2-F-11REAR TURN SIGNAL LAMP (N/REAR FOG LAMP)FIG.33CB2-F-12REAR TURN SIGNAL LAMP (W/REAR FOG LAMP)FIG.33FA2-F-13TAIL LAMP (N/REAR FOG LAMP)FIG.33FB2-F-14TAIL LAMP (W/REAR FOG LAMP)FIG.33LA2-G-2 AIR TEMP SENSORFIG.341B2-G-7 MAIN HARNESS (K15C:RHD:6AT:2WD:W/FRONT CAMERA)FIG.346A2-H-15ENGINE HARNESS (K15C:RHD:6AT:2WD)FIG.34EF2-J-6 INSTRUMENT PANEL HARNESS (SEE NOTE)FIG.34HA2-K-8 SUB DOOR HARNESS (SEE NOTE)FIG.34HB2-K-9 SUB DOOR HARNESS (SEE NOTE)FIG.34HC2-K-10SUB DOOR HARNESS (SEE NOTE)FIG.34JG2-L-9 FLOOR HARNESS (K15C:RHD:2WD:W/LUGGAGE LAMP:E12)FIG.34KB3-B-8 REAR DOOR HARNESS (GLX)FIG.34MA3-B-9 BACK DOOR HARNESS (SEE NOTE)FIG.34MB3-B-10BACK DOOR HARNESS (SEE NOTE)FIG.34TA3-B-12DOOR HARNESS (SEE NOTE)FIG.34TB3-B-13DOOR HARNESS (SEE NOTE)FIG.34TC3-B-14DOOR HARNESS (SEE NOTE)FIG.34VD3-C-10ROOF HARNESS (SEE NOTE)FIG.34VF3-C-12ROOF HARNESS (SEE NOTE)FIG.34VH3-C-14ROOF HARNESS (SEE NOTE)FIG.34XA3-D-4 REAR BUMPER HARNESSFIG.34YB3-D-6 JUNCTION BOX (K15C)FIG.358A3-D-7 LICENSE LAMPFIG.35PA3-D-8 HORNFIG.360B3-D-10LOCK SET (RHD:(K15B;K15C))FIG.36BK3-E-8 SUPPLY LAMP SWITCH (SEE NOTE)FIG.36DA3-E-11WIPER SWITCH (RHD)FIG.36EA3-E-13TURN SIGNAL & DIMMER SWITCH (RHD)FIG.36FA3-F-4 HAZARD WARNING SWITCHFIG.36GC3-F-7 BACK UP STOP LAMP SWITCH (SEE NOTE)FIG.36KB3-F-10DOOR SWITCH (GLX)FIG.36LA3-F-11A/C PANELFIG.36PA3-F-13POWER WINDOW SWITCH (RHD)FIG.36QB3-G-3 SUN ROOF SWITCH (N/SUNROOF:W/ECALL:GLX)FIG.36RA3-G-6 MIRROR SWITCHFIG.36SB3-G-8 AT MODE SWITCH (TYPE 4:2WD:6AT)FIG.370B3-G-12FRONT WINDOW WIPER (RHD)FIG.376A3-G-13REAR WINDOW WIPERFIG.37AB3-H-2 WIPER BLADE (RHD)FIG.37BA3-H-3 FRONT WASHER TANK & PUMP (RHD)FIG.37CA3-H-5 REAR WASHER TANK & PUMPFIG.37LB3-H-7 LIGHT CONTROLLER (RHD)FIG.37MD3-H-13BODY ELECTRIC CONTROLLER (SEE NOTE)FIG.37ML3-I-7 BODY ELECTRIC CONTROLLER (SEE NOTE)FIG.37MU3-I-14BODY ELECTRIC CONTROLLER (SEE NOTE)FIG.37NB3-J-6 GATEWAY CONTROLLER (RHD)FIG.37PB3-J-8 MONITOR SYSTEM (SEE NOTE)FIG.37RE3-K-2 CONTROL DEVICE (W/TPMS:RHD)FIG.37UA3-K-4 PARK SENSORFIG.37WC3-K-9 AUDIO & NAVI (SEE NOTE)FIG.38AA3-K-12CAMERA SYSTEM (W/FRONT CAMERA:W/ECALL)FIG.38AB3-K-13CAMERA SYSTEM (W/FRONT CAMERA:N/ECALL)FIG.38DD3-L-5 ACC SOCKET (GLX:TYPE 4)FIG.390A3-L-6 SPEAKER (N/TWEETER)FIG.390B3-L-7 SPEAKER (W/TWEETER)FIG.395D3-L-11ANTENNA (RHD:W/SUNROOF)FIG.399G4-B-7 DISPLAY (W/TUNER:(E12;E80):TYPE 4)

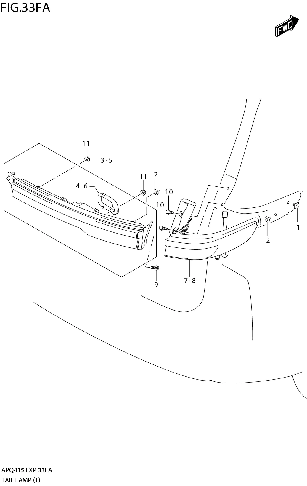
FIG.33FA2-F-13TAIL LAMP (N/REAR FOG LAMP)

FIG.33FA2-F-13TAIL LAMP (N/REAR FOG LAMP)
No No. Part Description Qty Price Per Pcs(New Part) Remarks

*Harga dapat berubah sewaktu-waktu tanpa pemberitahuan terlebih dahulu.

Pricelist Icon Dealer Icon Halo Suzuki Icon Drive Icon