SPARE PARTS
eparts figure-detail hero-part

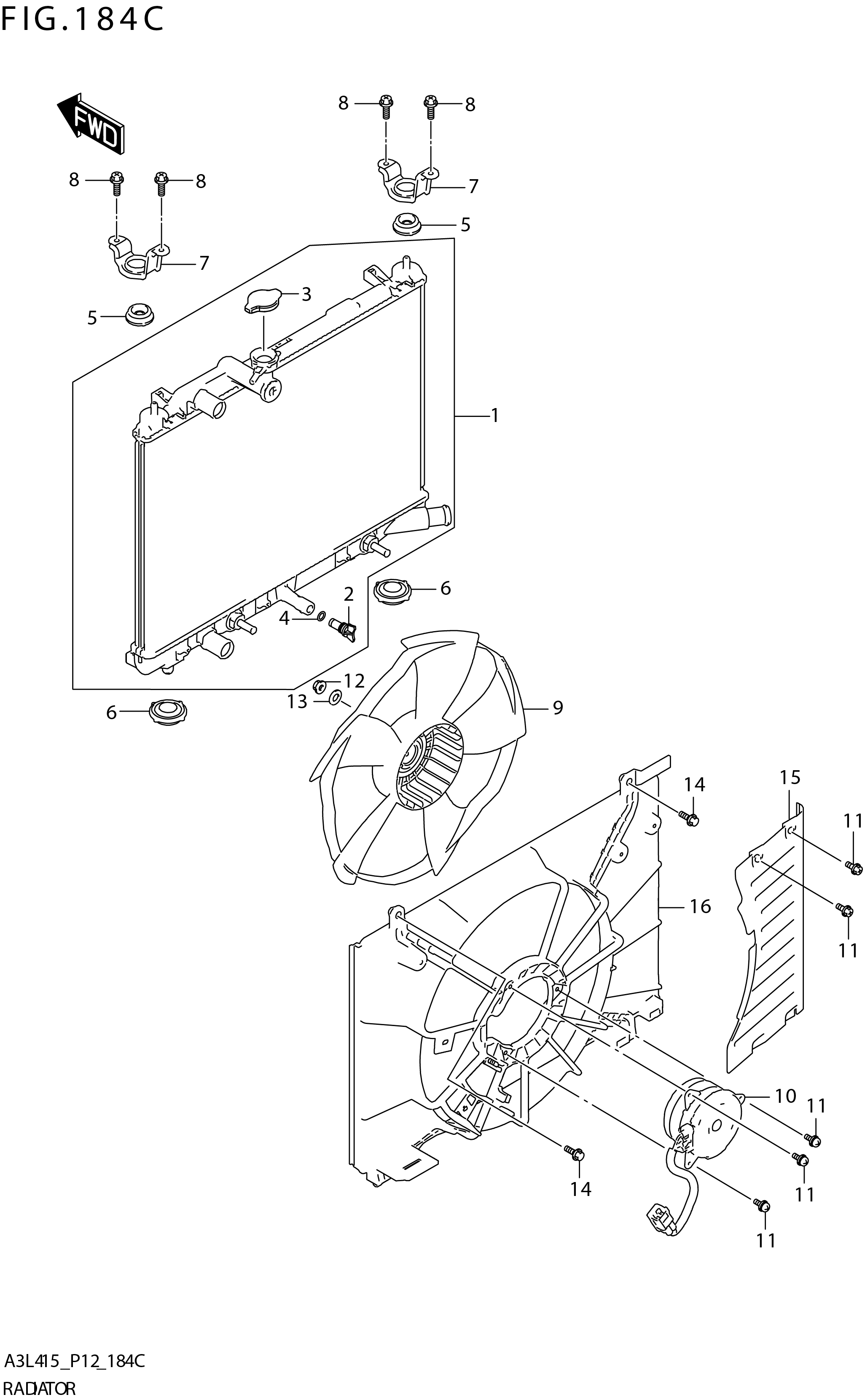
FIG. 184C RADIATOR (K15C)

FIG. 184C RADIATOR (K15C)
No No. Part Description Qty Price Per Pcs(New Part) Remarks

*Harga dapat berubah sewaktu-waktu tanpa pemberitahuan terlebih dahulu.

Pricelist Icon Dealer Icon Halo Suzuki Icon Drive Icon